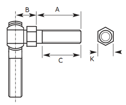
| MB-06S 3/8inch Right Hand Studded Rod End Bearing Materials |

| Attribute | Value |
|---|---|
| K | 0.500 |
| B | 0.562 |
| Thread Length (C) | 0.812 |
| Stud Length (A) | 0.906 |
| Thread Direction | Right Hand |
| Thread | 3/8-24 UNF |
| Bore Size | 3/8 |
| (Overall Length) A+B | 1.468 |
Disclaimer: Should a manufacturer of a given part not be available then a direct equivalent from an alternative manufacturer will be supplied.